banner
34JR6 L8 气动调节阀

34JR6 L8 气动调节阀

>34JR6 L8 气动调节阀

描述

34JR6 L8 气动调节阀

特征:

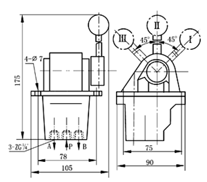
1.34JR6 L8气动调节阀采用截止设计,切换快速,响应和流量特性特别好。

2、由于截止换向阀控制力较大,采用气动活塞、偏心凸轮的方式,阀芯控制力较小。

34jr6-2

技术参数

模型

34JR6

公称通径

8毫米

有效截面积S值

20平方毫米

工作压力

1.00兆帕

泄漏率

溢出

0Nml/分钟

工作温度

-40-60度

耐用性

200万次

 

 

 


热门标签: 34jr6 l8气动控制阀,中国,制造商,供应商,工厂,批发,定制,批量,低价,有现货

发送询盘